Grain Duct Throttle Valve

The principal application for SpeedLock grain duct is where any suspended airborne matter of an aggressive or abrasive nature must be extracted. It is also highly effective in industries where the product being moved must be treated gently, or in high volumes.

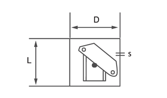
Code GTV

 

Dimensional Specifications

Product Code
Inside
diameter
D mm
Housing
thickness
S mm
Gate
thickness
mm
Overall
Length
L mm
Weight
kg
GTV160
160
0.9
1.8
170
1.35
 

Subscribe for a Complete Catalogue

developed by Pretty Clever Consulting

Additional Product Information and Availability

Name

Company

Email

Product Diameter (optional)