Grain Duct Injector

The principal application for SpeedLock grain duct is where any suspended airborne matter of an aggressive or abrasive nature must be extracted. It is also highly effective in industries where the product being moved must be treated gently, or in high volumes.

Code GDI

      




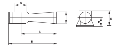
Dimensional Specifications

Product Code
A
mm
B
mm
C
mm
D
mm
E
mm
F
max
GDI2
160
160
500
670
220-275
100-155
GDI4
160
160
500
670
220-275
100-155
GDI5
160
160
500
670
220-275
100-155

Subscribe for a Complete Catalogue

developed by Pretty Clever Consulting

Additional Product Information and Availability

Name

Company

Email

Product Diameter (optional)